
作者:倪瑋瑾(1988.12),女(漢族),上海文依電氣股份有限公司(201317),上海,本科,機械工程師,中級工程師,研究方向:電氣連接與保護系統,軌道交通連接設備,通訊連接設備。
摘要:進口軟管接頭,連接可靠,但價格昂貴,其連接方式具有專利性。國內的塑料軟管接頭及金屬接頭分別有可靠性不夠及價格昂貴的劣勢。本文所闡述的加強型高強度卡環式鎖緊防水軟管接頭,以其中一款WQGDM-M25B/AD28.5加強型高強度卡環式鎖緊防水軟管接頭為研究對象,從接頭與軟管的安裝、密封性能、連接可靠性、金屬螺紋銅鑲件設計、環保材料選擇等方面逐一分析,系統說明加強型高強度卡環式鎖緊防水軟管接頭填補了目前市面上軟管接頭存在的一系列問題。
關鍵詞:IP69K;拆裝100次測試;卡環式鎖緊;一體式帶斜度環狀密封圈
0、引言
我國軌道交通、新能源汽車行業、鐵路、航運、航空、等需要通過電纜操作設備連接的行業不斷的發展也促使軟管接頭的利用率不斷提升。
從性能方面,包括防水性能、連接軟管可靠性等,以及市場經濟效益、材料環保要求、生產加工便捷等方面,需要滿足以上各要求,就要依靠此款加強型高強度卡環式鎖緊防水軟管接頭。
1、問題的提出與分析
軟管接頭按材料分為塑料軟管接頭與金屬軟管接頭。
國內的塑料軟管接頭主要是快速軟管接頭。軟管與快速軟管接頭連接時,軟管插入接頭,與管端密封圈相接觸,通過軟管的軸向擠壓力,使管端密封圈圓周面和端面均與軟管緊密相連,起到密封作用。同時,內鎖扣卡入波紋管凹槽內,利用軟管的回彈,使內鎖扣彈起并固定到位。
快塑軟管接頭存在以下問題:1)安裝難度較高。軟管插入接頭后,需二次擠壓,如何判斷安裝到位只能依靠操作人員的經驗,很大程度上存在漏水風險。2)此類接頭不能承受較大的軸向彎曲力。軟管穿入電纜后所具有的自身重力在很大程度上會壓在內鎖扣上,使原本彈起的內鎖扣出現較大程度的變形,影響防水性能。3)此接頭為塑料接頭,連接螺紋處存在連接失效風險。
以PMA軟管接頭作為業內軟管接頭代表的進口接頭。采用1~2片鎖片,按照軟管規格,等分圓周,將鎖片卡入軟管,有效解決了國內快速軟管接頭安裝難度高以及性能上劣勢。但進口件價格昂貴且進口周期較長是其致命弱點。
金屬軟管接頭能承受較大的彎曲力且螺紋扭矩都能滿足使用要求,但其高昂的制造成本并不適用于絕大多數的電氣連接與保護系統。
新型加強型高強度卡環式鎖緊防水軟管接頭的研發,能解決國內外塑料軟管接頭以及金屬軟管接頭的缺點,包含以下幾點:1)軟管與接頭安裝方便,即無需操作人員的經驗與否,均能快速安裝完成;2)防水密封性能良好,在復雜多變的力學環境中均能起到密封作用,能達到IP68、IP69K防護等級;3)連接可靠;4)金屬與塑料兩種材料有機結合;5)所用材料均需環保無害。
2、問題的解決與論證
以WQGDM-M25B/AD28.5加強型高強度卡環式鎖緊防水軟管接頭為例,其設計如圖
1.主要由4部分組成,分別是1、O型圈,用以密封螺紋端
2.接頭體
3.鎖緊螺帽
4.卡環。
下文中將逐條闡述其各項設計理念。
圖1加強型高強度卡環式鎖緊防水軟管接頭
2.1 軟管與接頭安裝方便
將軟管按照需要的長度切割,保證切面在軟管同一節距的凹槽內,且軟管突出部分的的端面基本平整,反之,需修整軟管。見圖2。將鎖緊螺帽套入軟管,再將卡環套入軟管規定凹槽內,WQGDM-M25B/AD28.5接頭連接普通AD28.5波紋軟管時,將卡環套入由右向左第6個卡槽內,見圖3。接頭體套入軟管后,僅需將鎖緊螺帽與接頭體螺紋旋緊即可安裝完成,且各項性能均能滿足要求。
圖2 軟管修整圖
圖3 軟管接頭安裝圖
2.2 防水密封性能
加強型高強度卡環式鎖緊防水軟管接頭采用與普通管端密封圈相同材質的熱塑性彈性體[2](TPE)的一體式帶斜度環狀密封圈,見圖4。
圖4 一體式帶斜度環狀密封圈
與普通管端密封圈相比,其優點如下:1)一體式帶斜度環狀密封圈與軟管接頭體一體成型,減少普通管端密封圈組裝成本。2)普通管端密封圈在使用中,因其可移動,可旋轉性,在插入軟管時,因操作不當,可能會出現軟管觸碰管端密封圈頂,使其整體變形的風險。而一體式帶斜度環狀密封圈與接頭體內壁一次注塑成型,且研發此接頭時,考慮到密封圈的防拉脫性,特意增加倒扣的設計,此設計完美解決了密封圈脫離接頭體的可能性。并且所選用的彈性體材料與接頭體內壁完全連接,不易剝離,減小安裝變形。3)一體式帶斜度環狀密封圈外壁與接頭體一體成型,內壁與中軸線成3°傾斜,并且在不同位置分布3個半徑大小一致的突起。3個突起的位置分布即涵蓋了普通軟管及寬節距軟管,因此,此類軟管接頭即能與普通波紋軟管相連,也能與寬節距軟管相連。以外徑AD28.5的波紋軟管為例,與WQGDM-M25B/AD28.5的接頭連接時,從上至下的3個突起處最小的內孔直徑分別為φ28.6mm、φ28.1mm、φ27.1mm,公差范圍均為-0.1/-0.3mm,以最小公差核算,壓縮比從上至下分別是1%、3%、6%。軟管可較容易插入,且依據經驗,軟管接頭的管端密封圈壓縮比在2%~5%時能達到良好的密封性能。除了軟管圓周的密封外軟管端面的密封也同樣重要,即軟管軸向需要有一定的壓縮量。以AD28.5波紋軟管為例,普通軟管鎖扣卡在第6扣,而寬節距軟管卡在第5扣,此狀態下,鎖緊螺帽與接頭體鎖緊時,軟管軸向壓縮比分別是:普通軟管:2mm,寬節距軟管:6.2mm。依據軟管接頭軸向最優壓縮比2mm~ 6mm,兩類軟管均符合最有壓縮比,軸向密封性能良好。
產品經SGS認證,符合IPX9K、IP68測試要求。
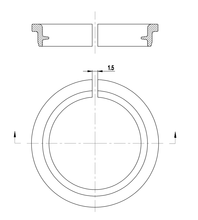
2.3 連接可靠性
加強型高強度卡環式鎖緊防水軟管接頭,使用卡環作為最主要的抗拉拔力的結構,見圖5。為方便安裝將卡環設計為帶有1.5mm間隙的帶卡爪的環狀鎖扣。在安裝時將卡環分離套入軟管。卡環卡爪與軟管凹槽緊密貼合,增強連接性。
圖5 卡環
除卡環連接外,用圓螺帽將卡環緊密壓實在接頭主體上,當軟管受拉拔力的時候,軟管的凹槽壁與卡環的卡爪緊密接觸,卡環上沿與圓螺帽緊密接觸,根據力傳遞作用,等于拉拔力全部加載在接頭主體上,達到固定可靠的作用。
鎖緊螺帽與接頭體螺紋連接采用梯形螺紋[1]。梯形螺紋在連接時具有牙根強度高,對中性好,不易松動等特點,加強抵抗拉拔力的能力。
鎖緊螺帽與接頭提的連接,為固定住螺紋,防止松動,在不采用螺紋密封膠固定的情況下,將接頭體梯形螺紋牙底平面上設置45°斜度,高度為3mm的凸起,見圖6。而鎖緊螺帽梯形螺紋起牙位置向下縮短4mm用以固定接頭體上的突起,并且這4mm的突起整個做成與接頭體突起相適配的花瓣狀環形狀態,旋緊過程中起到單向作用。在鎖緊過程中,凸起能輕送旋入花瓣,反之則很困難,需要通過扭矩扳手增加長度,將鎖緊螺帽取下。按照高鐵行業五年一個維修期,以及汽車行業至少每半年一次保養得頻率來算,此接頭安裝后,拆卸情況較少,但為了驗證接頭體突起及花瓣形固定方式的磨損是否會影響到接頭的性能。特意由SGS做了相應測試,結論為:將加強型高強度卡環式鎖緊軟管接頭以正確方式安裝拆卸100次,其中10次、20次、50次、80次、100次時分別測試IP6X和IPX8測試,結果均符合測試要求。
圖6 接頭體凸起與鎖緊螺帽花瓣狀結構
2.4 螺紋銅鑲件的設計
接頭體螺紋以金屬銅鑲件的形式,與接頭體一體注塑成型(即銅鑲件、接頭主體、環狀密封圈一體成型),見圖7。穿線孔部位(螺紋內孔)需注塑包覆,表面達到光滑,更好的保護所穿線纜,同時金屬部分所占比例較小,有效減輕產品整體重量,而應金屬螺紋部分較小,成本也等到有效控制。
圖7 軟管接頭體
銅鑲件上端(非螺紋端)加工成雙層,且銅鑲件表面帶有4個2.5mm寬度,1.5mm深度的凹槽。此結構目的是為了增強注塑后扭矩,防止銅鑲件脫出,同時此圓形銅棒為帶孔的開模一體成型的產品,減小加工成本。經測試,此產品包塑面較普通單層圓環形銅鑲件,接觸面增加1/3。銅鑲件破壞性扭矩測試較普通圓環形銅鑲件產品,需要更大的扭矩,更能滿足此產品性能要求。
另外,在銅鑲件包塑過程中,由于尼龍材料收縮性以及尼龍部分厚度不均的原因,易造成產品縮水。因此將尼龍接頭扳手面做成凹凸結構,即避免了產品成型過程中,由于尼龍部分材料收縮導致的表面凹凸不平,同時又滿足了扳手面強度要求。
2.5 材料環保
隨著近年來環保課題的不斷深入,塑料件的使用也需要滿足一定的標準要求。目前加強型高強度卡環式鎖緊防水軟管接頭采用全部綠色環保材料制作,材料全部通過國際環保認證。包括產品整體取得CE認證。通過各行業限用物質檢測要求,包括Q/CRRC J 26-2018《軌道交通裝配產品禁用和限用物質》和TB/T3139-2006《機車車輛內裝材料及室內空氣有害物質限量》等。
3、加強型高強度卡環式鎖緊防水軟管接頭優勢
該產品自2019年年底推向市場以來,使用情況良好,特別是國外客戶,對產品性能非常滿意。
新研發設計的加強型高強度卡環式鎖緊防水軟管接頭優勢如下:
(1)接頭組裝方便,無需經驗即可安裝到位,可滿足未接觸過此類接頭的安裝人員快速學會操作。
(2)防水性能優異,滿足IP69K、IP68防水測試。通過軟管圓周及軟管端面的雙重防水保護,確保其防水性能。且與普通接頭相比,此接頭能同時與普通軟管以及寬節距軟管連接,增強其通用性。
(3)相較于普通快速軟管接頭所存在的可靠性不足問題,加強型高強度卡環式鎖緊防水軟管接頭更好的滿足了可靠性要求。
(4)相對于市面上常規的塑料軟管與金屬軟管的區分,加強型高強度卡環式鎖緊防水軟管接頭將尼龍、金屬銅鑲件、TPE有機結合起來,即方便生產操作,又降低接頭成本,更具有市場競爭力。
(5)加強型高強度卡環式鎖緊防水軟管接頭采用全部綠色環保材料制作,材料全部通過國際環保認證。
4、結束語
加強型高強度卡環式鎖緊防水軟管接頭自投入市場以來,反饋良好,這充分證明研發設計取得了成功。當今社會,各行各業都講究節能減排,提高效率。作為傳統機械行業,更應該發揮主觀創造性,從產品初期的設計開始,大力促進設備優化創新,在滿足生產要求的前提下,大大節省人力物力財力!














